Vergaser Varajet II
Aufbau, Funktion,
Fehlerdiagnose, Abhilfe und Einstellanweisungen
Sicherheitshinweis:
|
|
Arbeiten am Vergaser nur bei kaltem Motor durchführen, sofern nicht in dieser Anleitung explizit anderslautend.beschrieben Vor Arbeitsbeginn Batterie abklemmen. Sofern Kraftstoff auf die Haut gelangt, diese sofort mit viel Wasser und Seife reinigen. Nicht rauchen! Schutzbrille und kraftstofffeste Arbeitshandschuhe tragen. Bei laufendem Motor müssen die Abgase ins Freie geleitet werden. Vergiftungsgefahr! Arbeiten am Vergaser erfordern fortgeschrittenes Fachwissen und Genauigkeit bei der Arbeitsausführung. In jedem Fall ist die Vergasereinstellung und die Dichtigkeit des Kraftstoffsystems nach durchgeführten Instandsetzungsarbeiten zu überprüfen und ggf. zu korrigieren. Eine falsche Vergasereinstellung kann neben Minderleistung und schlechten Abgaswerten schwere Motorschäden verursachen! |
Diese Anleitung bezieht sich nur auf die in den Modellen Manta/Ascona B und Rekord E mit den Motoren 18S, 20N und 20S eingebauten Varajet-Vergaser. Details dieser Prüfanleitung, die sich auf die frontgetriebenen Modelle (Kadett D, Kadett E, Ascona C) beziehen, wurden weggelassen.
Der Vergaser Varajet II ist ein Fallstrom-Registervergaser von Rochester mit Saugrohrweiten von 35 mm Durchmesser in der I. Stufe und 46 mm Durchmesser in der II. Stufe. Die Drosselklappe der I. und II. Stufe wird mechanisch über ein entsprechendes Gestänge hintereinander geschaltet.
Der Vergaser besteht aus drei Hauptteilen: dem Vergaserdeckel, dem Schwimmergehäuse und dem Drosselklappenteil, die im Aluminium-Spritzgußverfahren hergestellt sind.
Der Varajet-Vergaser ist bei allen damit ausgerüsteten Fahrzeugen mit Ausnahme des Varajet II im Opel Kadett D und 13S-Motor ab 09/82 mit einer Startautomatik ausgerüstet.
| 1 Unterdruckkolben 2 Stauklappe 3 Vergaserdeckel 4 Schwimmergehäuse 5 Drosselklappenteil 6 Drosselklappe I. Stufe |
|
In der ersten Stufe sind drei Lufttrichter (Venturi) konzentrisch angeordnet, die den Motor mit einem homogenen Kraftstoff-Luftgemisch im unteren und oberen Teillastbereich versorgen.
Im oberen Lastbereich bei großer Beschleunigung und hohen Motordrehzahlen, wird der Kraftstoffluftbedarf durch das Zuschalten der II. Stufe gedeckt. In der II. Stufe findet das federbelastete Luftklappenprinzip Anwendung, das einen sehr guten Übergang von der I. zur II. Stufe ermöglicht.
Die Startautomatik des Varajet-Vergasers wird durch eine Bimetallfeder, die elektrisch über PTC-Elemente (Positiver-Temperatur-Koeffizient) beheizt wird, gesteuert.
Die Schwimmerkammer ist mittig angeordnet und hat einen einteiligen, massiven Schwimmer.
Ein Kraftstofffilter ist am Kraftstoffanschluß des Schwimmergehäuses angeordnet. Es ist zur Reinigung bzw. Ersatz leicht zugänglich. Der Vergaser hat sieben Betriebssysteme. Diese sind:
1. Schwimmersystem
2. Leerlauf- und Umgemischsystem
3. Hauptdüsensystem I. Stufe
4. Hauptdüsensystem II. Stufe
5. Vollastanreicherung
6. Beschleunigersystem
7. Startautomatik
Nachstehend werden alle Betriebssysteme im Interesse einer schnellen Diagnosestellung sowie leichter Wartung und Störungsbeseitigung im einzelnen beschrieben.
Aufbau und Wirkungsweise
1. Schwimmersystem
| 1 Schwimmerkammerbelüftung 2 Schwimmer 3 Füllstück 4 Schwimmernadel 5 Ventilsitz 6 Mutter, Kraftstoffeinlaß 7 Kraftstofffilter 8 Schwimmerkammer |
|
Das Schwimmersystem hat die Aufgabe, das Kraftstoffniveau im Vergaser konstant zu halten. Das System besteht im einzelnen aus Schwimmerkammer (8), Schwimmer (2), Ventilnadel (4) und Ventilsitz (5), Kraftstofffilter (7) und dem Füllstück (3). Der Schwimmer (2) ist massiv aus Kunststoff in geschlossener Zellenbauweise hergestellt. Das Füllstück (3), ein Kunststoff-Formteil, begrenzt das Fassungsvolumen der Schwimmerkammer (8).
Der von der Kraftstoffpumpe geförderte Kraftstoff gelangt durch das Filter (7) und das geöffnete Schwimmernadelventil (5) in die Schwimmerkammer (8). Das Schwimmernadelventil (4) begrenzt die Kraftstoffmenge auf das vorgegebene Niveau. Wenn beim Betrieb des Motors Kraftstoff aus der Schwimmerkammer (8) entnommen wird, sinkt der Kraftstoffspiegel und mit ihm der Schwimmer (2). Das Schwimmergelenk hebt die Schwimmernadel (4) von ihrem Sitz (5), so daß der Kraftstoff nachfließen kann.
Die Belüftung der Schwimmerkammer erfolgt aus dem Luftfilter durch einen Schacht im Vergaserdeckel (Innenbelüftung).
2. Leerlaufsystem und Umgemischsystem
| 1 Verteilerkanal 2 Leerlaufblende 3 By-Pass-Luftbohrung 4 Gemisch-Regulierschraube 5 Gemischaustritt 6 By-Pass-Schlitz 7 Leerlauftauchrohr |
|
Für den Leerlaufbetrieb des Motors wird der Kraftstoff über das Leerlauftauchrohr (7) zu einem Querkanal gesaugt. Aus der Leerlaufluftöffnung tritt Luft, die sich mit dem Kraftstoff zu einer Emulsion vermischt. Diese Emulsion gelangt über einen Verteilerkanal (1) zu dem abwärts führenden Kanal. Von hier aus passiert die Emulsion die Gemischregulierschraube (4) und gelangt in das Saugrohr.
Die Gemischregulierschraube (4), welche in Abhängigkeit der Drosselklappenstellung die Austrittsmenge dosiert, wird werksseitig eingestellt und durch eine Kunststoffkappe (grün) gesichert. Eine Änderung der Drosselklappenstellung oder der Gemischregulierschraube ist später nicht mehr notwendig, da Drehzahländerungen aufgrund unterschiedlicher Motorreibung durch das Umgemischsystem kompensiert werden können.
| 1 Verteilerkanal 2 Luftbohrung 3 Umgemischdüse 4 Umgemischkanal 5 Umgemisch-Regulierschraube 6 Tauchrohr (Leerlaufsystem) |
|
Das Umgemischsystem bezieht ebenfalls den Kraftstoff über die Leerlauftauchdüse.
Von dem Verteilerkanal (1) gelangt der Kraftstoff, der durch die Umgemischdüse (3) dosiert wird, in den Umgemischkanal (4). Durch eine kalibrierte Bohrung (2) wird Luft zugeführt, die sich mit dem Kraftstoff im Umgemischkanal (4) vermischt. Diese Emulsion gelangt um die Drosselklappe der ersten Stufe herum direkt ins Saugrohr.
Der Ausfluß wird durch eine Schraube, der "Umgemischregulierschraube" (5) dosiert.
Das Umgemischsystem ist so ausgelegt, daß unabhängig der Umgemischmenge weitestgehend ein konstanter CO-Anteil im Abgas bei Leerlaufdrehzahl sichergestellt ist, d.h. mittels Umgemischregulierschraube ist eine Drehzahlkorrektur möglich, ohne die Abgasemission zu verändern.
Heiß-Leerlaufventil
An der Schwimmerkammer des Varajet-Vergasers ist ein Heiß-Leerlaufventil angeordnet, das mit einem Kanal, der die Drosselklappe der I. Stufe umgeht, in Verbindung steht. Das Ventil wird durch eine Bimetall-Feder gesteuert. Bei hohen Umgebungstemperaturen öffnet das Heiß-Leerlaufventil und läßt Zusatzluft in das Saugrohr strömen. Dadurch wird der bei extrem heißen Motorbetrieb entstehenden Anreicherungswirkung, bedingt durch Kraftstoffdampfdruck im Schwimmergehäuse, im Leerlaufbetrieb entgegengewirkt.
Bei betriebswarmem Motor ist das Heiß-Leerlaufventil geschlossen. Bei Leerlaufeinstellarbeiten muß das Heiß-Leerlaufventil grundsätzlich geschlossen sein.
3. Hauptdüsensystem I. Stufe
Die Drosselklappen der I. und II. Stufe werden mechanisch hintereinander geschaltet. Das Öffnen der II. Stufe erfolgt über ein Hebelsystem durch den Drosselhebel der I. Stufe, wenn diese etwa 2/3 geöffnet ist.
Die Drosselklappe der II. Stufe kann jedoch erst dann öffnen, wenn die an der Drosselklappenwelle eingebaute Sperre durch die Startautomatik nach dem Öffnen der Starterklappe ausgeschaltet worden ist.
| 1 Gemischaustrittrohr 2 Lufttrichter (dreifach konzentrische Venturi 3 Drosselklappe I. Stufe 4 Betätigungshebel 5 Drosselklappenanschlagschraube 6 Hauptkraftstoffkanal 7 Teillastventil (versiegelt) 8 Hauptdüse 9 Teillastnadel 10 Luftbohrung 11 Luftblende |
|
Das Hauptdüsensystem der I. Stufe beliefert den Motor mit Kraftstoff zwischen Übergangs- und Vollastbereich.
Dieses System ist dann in Betrieb, wenn die Luftgeschwindigkeit im Nebenlufttrichter (2) - dreifach konzentrische Venturi-Anordnung - am Gemischaustritt einen genügend großen Unterdruck erzeugt, um einen Kraftstofffluß aus dem Gemischaustrittsrohr (1) aufrecht zu halten.
Bei kleineren Motorlasten ist, bedingt durch die Stellung der Drosselklappe (3) der Unterdruck im Saugrohr relativ hoch. Dieser wirkt auf einen Kolben und zieht ihn gegen die Federkraft nach unten. Hierdurch wird die Teillast-Nadel (9) nach unten in die Hauptdüse (8) geschoben. Der Kraftstoff wird zwischen der Teillastnadel (9) und der Hauptdüse (8) dosiert.
Der durch die Hauptdüse (8) strömende Kraftstoff gelangt zunächst über den Hauptkraftstoffkanal (6) und wird mit der durch die Luftblende (11) sowie durch die Luftbohrung (10) einströmenden Luft durchsetzt.
Der am Gemischaustritt wirkende Unterdruck, bedingt durch die große Luftgeschwindigkeit, hebt das Kraftstoffluftgemisch aus dem Gemischaustrittsrohr (1), wo es mit der einströmenden Luft zerstäubt und dem Saugrohr zugeführt wird.
Bei größerer Drosselklappenöffnung der I. Stufe sinkt der Saugrohrunterdruck im Saugrohr, die Feder drückt den Kolben und somit die Teillastnadel (9) aus der Hauptdüse (8) nach oben, so daß mehr Kraftstoff in den Hauptkraftstoffkanal (6) und somit mehr Kraftstoffgemischanteil in den Nebenlufttrichter (2) gelangt.
Parallel zu dem durch die Nadelgesteuerte Hauptdüse fließenden Kraftstoff gelangt zusätzlich eine Teilkraftstoffmenge durch ein verstellbares Nadelventil (7) in den Hauptkraftstoffkanal. Diese Zusatzmenge, die werkseitig eingestellt wird, erlaubt ein exaktes Anpassen der Gemischzuführung innerhalb des Hauptdüsensystems der I. Stufe und ermöglicht die Einhaltung einer minimalen Schadstoffemission im Wirkungsbereich der I. Stufe. Dieses Nadelventil wird nach der Fertigung des Vergasers durch einen Metallstopfen verschlossen und ist später nicht mehr zugänglich.
4. Hauptdüsensystem II. Stufe mit Übergangssystem
Das Hauptdüsensystem der II. Stufe sorgt für eine zusätzliche Gemischanreicherung bei starker Beschleunigung sowie im Betrieb des oberen Drehzahlbereiches. Das fettere Gemisch wird durch das Hauptdüsensystem in der I. und in der II. Stufe des Vergasers geliefert.
Die II. Stufe enthält eine Drosselklappe (4), eine Stauklappe (3) mit Stauklappenfeder (2), eine Düsenblende (6) und eine an der Stauklappe (3) befestigte Volllastnadel (1).
| 1 Volllastnadel II. Stufe 2 Stauklappenfeder 3 Stauklappe 4 Drosselklappe II. Stufe 5 Lufttrichter II. Stufe 6 Düsenblende |
|
Wenn die Drosselklappe der I. Stufe fast vollkommen geöffnet ist, beginnt der Drosselhebel der II. Stufe die Sekundär-Drosselklappe (4) zu öffnen. Da die Stauklappe (3), bedingt durch den Schließdruck der Stauklappenfeder (2), noch geschlossen ist, wirkt unter dieser ein Unterdruck.
Wenn die Druckdifferenz eine bestimmte Größe erreicht, beginnt die federbelastete Stauklappe (3) sich zu öffnen. Bei dieser Öffnungsbewegung gibt die Unterkante der Stauklappe (3) den Gemischaustritt, bestehend aus Düsenblende (6) und Volllastnadel (1), frei. Dabei tritt aus dieser genügend Kraftstoff aus und sorgt für einen kontinuierlichen Übergang, bis sich die Stauklappe (3) ganz geöffnet hat. Mit dem Öffnen der Stauklappe (3) wird die Volllastnadel (1) aus der Düsenblende (6) herausgezogen.
Da die Volllastnadel konisch ist, wird mit dem Öffnen der Stauklappe (3) ein immer größer werdender Querschnitt freigegeben und somit eine entsprechend größere Menge Kraftstoff zugesetzt, der sich mit der einströmenden Luft zu einem Kraftstoff-Luftgemisch vermischt. Die Stellung der Vollastnadel (1) in der Düsenblende (6) bzw. die Befestigung und Justierung der Volllastnadel (1) in der Stauklappe (3) erfolgt werkseitig und darf nicht mehr verändert werden. Die Einstellschraube ist mit Lack versiegelt.
Die Unterdruckunterbrechereinrichtung (siehe Starterklappensystem), bestehend aus Membrandose mit Zugstange, beeinflußt ebenfalls das Öffnen der Stauklappe (3).
Beim plötzlichen Beschleunigen, wenn die Drosselklappen beider Stufen geöffnet werden, wirkt Unterdruck unterhalb der Stauklappe (3) und versucht, diese zu öffnen. Die Stauklappe (3) ist jedoch noch durch die Zugstange der Membrandose blockiert. Gleichzeitig mit dem Öffnen der Drosselklappen fällt der Unterdruck im Saugrohr ab, die Feder überwindet den Restunterdruck in der Membrandose und die Zugstange gibt den außen angeordneten Hebel der Stauklappe (3) frei. Dies bewirkt eine Dämpfung bzw. führt zu einem verzögerten Öffnen der Stauklappe (3) und ermöglicht einen kontinuierlichen Übergang von der I. zur II. Vergaserstufe.
Übergangssystem II. Stufe
Damit zwischen dem Öffnen der Drosselklappe der II. Stufe (5) und der Stauklappe (4) keine Abmagerung erfolgt, ist der II. Vergaserstufe ein Übergangssystem zugeordnet. Durch eine kalibrierte Bohrung gelangt Kraftstoff aus der Schwimmerkammer in den Anreicherungszylinder (1) des Systems.
Über ein in dem Anreicherungszylinder befindliches Tauchrohr (2) wird mit Beginn des Öffnens der Drosselklappe der II. Stufe Kraftstoff aus dem Austrittsrohr (3) der Übergangsanreicherung in die II. Stufe gehoben.
Dieses Zusatzsystem ermöglicht einen guten Übergang bis zum Beginn des Kraftstoffaustritts aus dem nadelgesteuerten Hauptdüsensystem der II. Stufe. Das Übergangssystem ist solange im Einsatz, wie die Drosselklappe (5) der II. Stufe geöffnet ist.
| 1 Anreicherungszylinder 2 Tauchrohr 3 Austrittsrohr 4 Stauklappe 5 Drosselklappe |
|
5. Volllastanreicherung
Dieses System ermöglicht eine zusätzliche Anreicherung bei großer Motorlast in der I. Vergaserstufe.
1 Anreicherungsaustrittsrohr
2 Luftblende
3 Tauchrohr
Das im Volllastbereich wirksam werdende Anreicherungssystem besteht aus einem kalibrierten Tauchrohr (3), in der Schwimmerkammer angeordnet, und dem Anreicherungsaustrittsrohr (1) im Lufttrichter. Die Mündung des Anreicherungsaustrittsrohres (1) liegt in einer Zone abgeschwächten Unterdrucks. Bei niedrigen und mittleren Motorlasten reicht der Unterdruck in diesem Bereich nicht aus, Kraftstoff aus dem Tauchrohr (3) zu heben.
Erst wenn der Unterdruck bei höheren Drehzahlen eine solche Größe erreicht, vermag er Kraftstoff auf die Höhe des Anreicherungsaustrittsrohres (1) zu heben und eine zusätzliche Kraftstoffabgabe in den Lufttrichter der I. Stufe setzt ein. Eine Luftblende (2) im Vergaserdeckel läßt Luft passieren, die den Kraftstoff mit Luft durchsetzt und gleichzeitig während des Betriebs des Volllastanreicherungssystems die Ausflußmenge reguliert.
6. Beschleunigersystem
Um beim plötzlichen Beschleunigen, d.h. beim schnellen Öffnen der Drosselklappen eine Anpassung der Gemischmenge an den stark zunehmenden Luftdurchsatz zu gewährleisten, ist eine Beschleunigerpumpe vorhanden. Das Beschleunigersystem ist im Schwimmergehäuse angeordnet und besteht aus einem federbelasteten Pumpenkolben (2), einer Pumpenrückholfeder (5) und dem Pumpenzylinder sowie einem Pumpensaug- und Pumpendruckventil.
| 1 Betätigungshebel 2 Pumpenkolben 3 Pumpenfeder 4 Pumpenmanschette 5 Rückdruckfeder 6 Pumpensaugventil 7 Pumpendruckventil 8 Feder-Druckventil 9 Austrittsöffnung 10 Kompensationsbohrung |
|
Die Pumpenfeder (3) speichert während des schnellen Niederdrücken des Pumpenkolbens (2) einen Teil der Bewegungsenergie und sorgt durch ein zeitlich verzögertes Entspannen, daß eine gleichmäßige Einspritzmenge während des Beschleunigungsvorganges über die Austrittsbohrung dem Saugrohr zugeführt wird.
Die Pumpenrückdruckfeder (5) drückt beim Zurückgehen in die Leerlaufstellung den Pumpenkolben (2) in die Ausgangsstellung zurück. Dabei gelangt Kraftstoff aus der Schwimmerkammer über das Pumpensaugventil (6) in den Pumpenzylinder unterhalb des Pumpenkolbens (2).
Der Pumpenkolben (2) wird über einen Pumpenhebel (1), der über einer Verbindungsstange mit dem Drosselklappenhebel in Verbindung steht, betätigt.
Wenn die Drosselklappe der I. Stufe öffnet, wird über das Gestänge der Pumpenkolben (2) nach unten gedrückt und der verdrängte Kraftstoff über das Pumpendruckventil (7) und der Austrittsöffnung in den Lufttrichter der I. Stufe gesprüht. Gleichzeitig verhindert das Pumpensaugventil (6), daß Kraftstoff in die Schwimmerkammer zurückläuft.
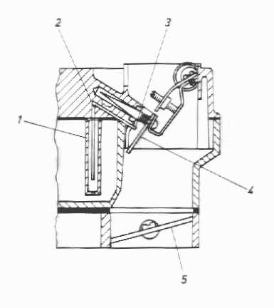
7. Startautomatik
Der Vergaser hat ein automatisches Starterklappensystem, das durch zwei PTC-Elemente beheizt wird. Das System besteht aus der Starterklappe, die in der I. Stufe im Vergaserdeckel angeordnet ist, einer Bimetall-Feder, einer Unterdruckunterbrechereinheit, einem Schnellleerlaufnocken und einer Sperrklinke.
| Anordnung der Startautomatik bei geschlossenen Drosselklappen und geöffneter Starterklappe. 1 Unterdruckdose (pull-down)
|
|
Die Starterklappenwelle steht unter der Spannung der spiralförmigen Bimetall-Feder, die auf die jeweilige Außentemperatur reagiert.
Bei kaltem Motor ist, wenn vorher durch einmaliges Niedertreten des Gaspedals die Startautomatik entriegelt ist, die Starterklappe geschlossen.
Mit Erwärmen der Bimetall-Feder läßt die Schließkraft nach und die Starterklappe öffnet sich, bis sie bei Erreichen der normalen Betriwewbstemperatur des Motors den Luftdurchlaß völlig freigibt.
Bei geschlossener Starterklappe wird die Drosselklappe einen Spalt breit geöffnet, da beim Schließen der Starterklappe der Drosselklappenhebel mit Einstellschraube auf dem höchsten Nocken der Stufenscheibe zur Auflage kommt. Gleichzeitig blockiert eine Sperrklinke das Öffnen der Drosselklappe der II. Vergaserstufe.
Auf diese Weise kann sich der beim Anlassen des Motors entstehende Unterdruck bis unter die geschlossene Starterklappe ausweiten. Dieser Unterdruck hebt Kraftstoff aus dem Nebenlufttrichter - dreifach Venturi-Anordnung).

Das Bild zeigt die Anordnung der Startautomatik bei geschlossenen Drosselklappen und geschlossener Starterklappe.
Die für die Gemischbildung erforderliche Luft wird über die durch den Unterdruck sich öffnende Starterklappe angesaugt. So entsteht ein sehr fettes Startgemisch, das den Motor auch bei sehr niedrigen Temperaturen sicher anspringen läßt. Der Startautomatik ist eine durch Unterdruck gesteuerte Membran mit Zugstange zugeordnet.
Diese Einrichtung hat die Aufgabe, die Starterklappe nach dem Anspringen des Motors bei Schnellleerlaufdrehzahl etwas zu öffnen, um einer Überfettung des Gemischs entgegenzuwirken.

Das Bild zeigt die Anordnung der Startautomatik bei geschlossenen Drosselklappen und angezogener Unterdruckstange (teilgeöffneter Starterklappe).
Der unterhalb der Drosselklappe wirkende hohe Saugrohrunterdruck wird über Bohrungen und einer Schlauchleitung vor die Membran geleitet und dieser zieht die Membran mit der Zugstange gegen einen Federdruck an. Diese Bewegung wird von einem Hebel, der mit der Starterklappe in Verbindung steht, aufgenommen, so daß die Starterklappe einen Spalt öffnet.
Gleichzeitig blockiert der hintere abgekröpfte Teil der Zugstange ein Öffnen der Starterklappe der II. Stufe.
Mit dem Einschalten der Zündung setzt die Beheizung der Bimetallfeder ein. Die Beheizung dauert so lange an, wie die Zündung eingeschaltet ist.
Fehlersuchtabelle
Die in der Fehlersuchtabelle links im Raster eingesetzten Zahlen stellen eine Bewertung möglicher Fehlerursachen dar, wobei 1 = häufigste Ursache und 2 = zweithäufigste Ursache usw. bedeutet.
Voraussetzung für die Verwendung dieser Tabelle ist:
Vergaser-Anschlüsse müssen einwandfrei sei
Zündzeitpunkt ist korrekt eingestellt
Zündkerzen und Kontakte sind einwandfrei
Kraftstoff befindet sich im Vergaser
Keine Falschluft im Gemischaufbereitungssystem
Auspuffsystem ist einwandfrei
Steuerzeiten stimmen
| 1 | 2 | 3 | 4 | 5 | 6 | 7 | 8 | 9 | 10 | 11 | 12 | 13 | Ursache | Abhilfe |
| 1 | 1 | 5 | 1 | Bedienungsfehler | Nach Vorschrift starten | |||||||||
| 3 | Starterklappe schließt nicht | Funktionsprüfung | ||||||||||||
| 6 | 6 | 3 | Starterklappe öffnet nicht | Funktionsprüfung | ||||||||||
| 5 | 4 | 5 | 2 | Fehlfunktion Ansaug-Luftvorwärmung | Funktionsprüfung | |||||||||
| 2 | 2 | 2 | Fehlfunktion Stauklappe II. Stufe | Funktion Stauklappe prüfen | ||||||||||
| 2 | 7 | 2 | 1 | 4 | Falschluft an Dichtungen und Flanschen | Flanschdichtung ersetzen | ||||||||
| 5 | 7 | 4 | 5 | Drosselklappenwellenlager ausgeschlagen | Drosselklappenteil ersetzen | |||||||||
| 3 | 2 | Drosselklappen schließen nicht | Betätigung und Lager prüfen | |||||||||||
| 2 | Starterklappe schließt zu schnell | Starterdeckel wechseln | ||||||||||||
| 4 | Vergaser-Vereisung | Vergaser-Vorwärmsystem prüfen | ||||||||||||
| 3 | 1 | 4 | 1 | Leerlaufeinstellung falsch | einstellen | |||||||||
| 5 | Gemischregulierschraube defekt | ersetzen | ||||||||||||
| 4 | Grundleerlauf nicht korrekt | einstellen | ||||||||||||
| 1 | 1 | Beschleunigerpumpe defekt | Funktion Pumpenkolben prüfen | |||||||||||
| 7 | 3 | 3 | 4 | 5 | Unterdruckkolben defekt | Unterdruckkolben ersetzen | ||||||||
| 6 | 2 | 5 | 3 | 6 | Kraftstoffspiegel unkorrekt, Schwimmernadel hängt | Funktion prüfen | ||||||||
| 3 | 1 | Filter im Kraftstoff-Zulauf verstopft | Ersetzen | |||||||||||
| 1 | Drosselklappe I. und II. Stufe öffnet nicht voll | Betätigungsgestänge prüfen | ||||||||||||
| 3 | 4 | 1 | 6 | Schmutz im Vergaser | Zerlegen und reinigen | |||||||||
| 3 | 3 | Kraftstoffqualität nicht wie vorgeschrieben | Kraftstoff wechseln | |||||||||||
| 4 | 2 | Drosselklappendämpfer falsch eingestellt | Nachstellen | |||||||||||
| 7 | Luftfilterelement verschmutzt | Ersetzen | ||||||||||||
| 1 | Fahrverhalten, Betriebsbedingungen | Fahrer aufklären | ||||||||||||
| 6 | 5 | 8 | Falsche Einstellung der Teillastregulier-schraube | Einstellen |
8. Startvorgang
Kaltstart
Gaspedal einmal ganz durchtreten. Motor starten. Nach 5 bis 10 Sekunden leicht Gasgeben, um die Drehzahl zu reduzieren.
Heißstart
Gaspedal halb getreten halten und Motor starten. Springt Motor nicht an, Gaspedal ganz durchgetreten halten und erneut starten.
9. Vergaser prüfen und einstellen
Leerlauf und CO-Anteil im Abgas einstellen
Nach einer exakt durchgeführten Vergasereinstellung auf der Fließbank und am Ende des Montagebandes werden Drosselklappenanschlagschraube und Gemischregulierschraube mit einer Eingriffsicherung versehen.
Die Umgemischregulierschraube beim Varajet-Vergaser wird nicht gesichert, da ein Verdrehen keine wesentliche Änderung des CO-Anteils im Abgas bewirkt.
Ein Verändern der Drosselklappeneinstellung ist in der Regel nicht notwendig, jedoch ist bei Leerlaufeinstellungen die Stellung der Drosselklappe durch Messen des Zündunterdrucks zu kontrollieren.
Ein Verdrehen der Gemischregulierschraube ist nur dann erforderlich, wenn der CO-Anteil nicht dem Nennwert entspricht.
Vor der Leerlaufeinstellung muß gewährleistet sein, daß Ventilspiel, Zündzeitpunkt und Elektrodenabstand der Zündkerzen den Vorschriften entsprechen.
Die Leerlaufeinstellung ist nur bei betriebswarmem Motor (Öltemperatur 60 bis 80°C) und aufgesetztem Luftfilter durchzuführen.
Bei Fahrzeugen mit automatischem Getriebe erfolgt die Leerlaufeinstellung in Wählhebelstellung "P". Grundsätzlich muß nach jeder Einstellung, die zum Entfernen der Eingriffsicherung führt, der Vergaser mit blauen Sicherungen versehen werden.
Drehzahlmesser und CO-Tester anschließen. Leerlaufdrehzahl, Zündunterdruck und CO-Anteil im Abgas messen.
Ist die Drehzahl höher oder niedriger als der Sollwert, ist durch entsprechendes Verdrehen der Umgemischregulierschraube die Drehzahl auf den Sollwert einzustellen.

Weicht der CO-Anteil vom Sollwert ab, ist die Eingriffsicherung über der Gemischregulierschraube zu entfernen und durch entsprechendes Verdrehen der Gemischregulierschraube der Sollwert einzustellen. Blaue Eingriffsicherung anbringen.

Grundleerlauf einstellen
Wird eine korrekte Leerlaufdrehzahl - mit korrektem CO-Gehalt - durch den vorher beschriebenen Vorgang nicht erreicht, muß eine Grundleerlaufeinstellung vorgenommen werden.
Gelbe Sicherungskappe von der Drosselklappenanschlagschraube entfernen und vorgeschriebenen Zündunterdruck (10 mbar) einstellen. Nach dem Einstellen eine blaue Sicherungskappe anbringen. Leerlaufdrehzahl und CO-Gehalt entsprechend einstellen.

Schnellleerlauf prüfen und einstellen
Voraussetzung für die richtige Einstellung des Startsystems ist ein einwandfreier Leerlauf bei betriebswarmem Motor (Öltemperatur 60 bis 80°C).
Luftfilter abnehmen und Unterdruckanschluß am Vergaser für den automatisch umschaltbaren Luftfilter verschließen. Betriebswarmen Motor abstellen.
Stártautomatik
Drosselklappe etwas öffnen. Stuifenscheibe so stellen, daß beim Schließen der Drosselklappe die Schnellleerlaufeinstellschraube auf den zweithöchsten Nocken der Stufenscheibe aufliegt. Dieser Nocken ist mit einer "2" gekennzeichnet.
Motor starten, dabei das Gaspedal nicht berühren. Schnellleerlaufdrehzahl messen.
Korrektur: Bei einer Abweichung ist durch entsprechendes Verdrehen der Schnellleerlaufanschlagschraube der Sollwert einzustellen.

Stauklappendämpfer einstellen
Schlechte Beschleunigung oder mangelnde Endleistung können unter anderem auf eine nicht einwandfreie Stauklappendämpfung zurückgeführt werden.
Luftfilter abnehmen. Mit Vakuumhandpumpe Unterdruckdose mit Vakuum beaufschlagen bis die Zugstange ganz angezogen ist. Die Zugstange muß in dieser Stellung mindestens 30 Sekunden verbleiben. Das Spiel "A" muß 0,1 bis 0,3 mm betragen. Gegebenenfalls ist eine Korrektur des Zugstangenendes vorzunehmen.

Falls trotz korrekter Einstellung der Stauklappe Übergangsfehler beim Beschleunigen auftreten, ist - falls noch nicht vorhanden - ein Dämpfer, Katalog-Nr.: 96 009 298, einzubauen. Die Einbaulage ist zu beachten. Neuen Unterdruckschlauch verwenden.

Bei Vergasern für den Motor 18S ist anstelle eines Dämpfers ein Verzögerungsventil, Katalog-Nr.: 90 001 122, eingebaut. Auf die richtige Einbaulage des Verzögerungsventils achten: schwarz zeigt zur Unterdruckdose, weiß zum Saugrohr.

Prüfen und Einstellen des Startsystems
Alle Prüfungen sind bei aufgebautem Vergaser und stehendem Motor durchzuführen. Luftfilter abbauen.
Freigängigkeit der Starterklappe und Übertragungselemente prüfen und ggf. Starterklappe und Verbindungsstange gangbar machen.
Startautomatik, Starterklappenspalt "A" (Pull down) prüfen und einstellen.
Schnellleerlaufeinstellschraube auf den obersten Nocken der Stufenscheibe stellen. Starterklappe muß vollständig schließen. Falls die Starterklappe nicht vollständig geschlossen ist - Starterdeckel noch warm - durch Gummiband schließen.

Mit Vakuumhandpumpe Unterdruckdose mit Vakuum beaufschlagen. Zwischen Starterklappe und Vergaserwand muß der Spalt "A" vorhanden sein. Mit Lehre oder Bohrerschaft messen.

Korrektur: Einstellschraube (Pfeil) der Unterdruckdose so verdrehen, bis das Spaltmaß "A" erreicht ist. Wenn der Spalt zu klein ist, muß vor Verdrehen der Anschlagschraube das Zugstangenende "G" zurückgebogen werden, damit genügend Spiel zwischen Anschlag und Stauklappendeckel vorhanden ist.

Starterklappenspalt "B" prüfen
Starterklappe durch Gummiband schließen. Drosselklappe etwas öffnen und Schnellleerlaufeinstellschraube auf den zweithöchsten Nocken der Stufenscheibe setzen. Schraube liegt dabei an der höchsten Stufe an. Starterklappe zwecks Spielausgleich etwas öffnen und wieder loslassen.

Starterklappenspalt "B" mit Lehre oder Bohrerschaft prüfen.

Korrektur: Vergaser abbauen. Starterdeckel ausbauen. Verbindungsstange zwischen Stufenscheibe und Starterklappenhebel biegen. Stangenkrümmung aufweiten = Spaltmaß "B" kleiner.
Nach Einstellung Vergaser wieder aufbauen und Starterklappenspalt "A" prüfen und ggf. einstellen.

Mechanische Zwangsöffnung "C" prüfen und ggf. einstellen
Starterklappe schließen (Gummiband) und Drosselklappe voll öffnen. Starterklappenspalt "C" messen.

Korrektur: Vorsichtiges Verbiegen des Zapfens "G" nach rechts = Spalt größer, nach links = Spalt kleiner

Öffnungszeit der Starterklappe prüfen
Starterklappe auf Leichtgängigkeit prüfen. Zeiger am Starterdeckel muß mit der Markierung am Haltering, gemäß den Angaben in den Datenblättern, übereinstimmen. Bei kaltem Motor (Raumtemperatur ca. 20°C) Zündung einschalten. Die Starterklappe muß nach ca. 3 - 4 Minuten voll geöffnet sein. Beträgt die Zeit für das Öffnen mehr als 4 Minuten, ist der Starterdeckel zu ersetzen.

Gasgestängedämpfer einstellen (nur bei Fahrzeugen mit AT-Getriebe)
Der Gasgestängedämpfer ist richtig eingestellt, wenn bei betriebswarmem Motor der Dämpferstift 3 mm, bei Schwedenfahrzeugen 4 mm, eingeschoben ist. Dies entspricht 3 bzw. 4 Dämpferumdrehungen.
Dazu Dämpferbefestigung lösen. Dämpfer soweit zurückdrehen bis Dämpferstift mit dem Vergaserhebel nur noch leichten Kontakt hat. Dämpfer 3 bzw. 4 Umdrehungen herausdrehen und kontern.

Teillastregulierschraube einstellen
Die Teillastregulierschraube dosiert eine Teilkraftstoffmenge für das Hauptnadelsystem der I. Stufe. Diese Teillastmenge ist werkseitig eingestellt und die Teillastregulierschraube durch einen Metallstopfen verschlossen. Bei Beanstandungen wie Magerruckeln bei konstanter Geschwindigkeit, Aussetzen im Teillastbereich oder auch bei zu hohem Kraftstoffverbrauch kann eine Einstellung der Teillastregulierschraube erfolgen. Vorher müssen jedoch alle übrigen in der Fehlersuchtabelle angegebenen Arbeiten durchgeführt worden sein.
Vergaser ausbauen. Metallstopfen mit spitzem Dorn heraushebeln.
Achtung! Die Teillastregulierschraube darf nicht mehr als 1/2 Umdrehung verstellt werden, da andernfalls das Teillastgemisch zu stark verändert wird.

Mageraussetzer
Teillastregulierschraube 1/4 Umdrehung entgegen dem Uhrzeigersinn verdrehen. Falls erforderlich, kann nochmals 1/4 Umdrehung eingestellt werden.

Zu hoher Kraftstoffverbrauch
Teillastregulierschraube im Uhrzeigersinn 1/4 Umdrehung verdrehen (max. 1/2 Umdrehung). Anschließend Metallstopfen wieder eindrücken.
3. Vergaser aus- und einbauen
Batterie abklemmen, Luftfilter abnehmen. Alle Leitungen, Bowdenzüge, Schläuche und Leitungen, die zum Vergaser führen, abbauen. Kühlmittelführende Schläuche (Drosselklappenvorwärmung) abklemmen.

Vergaser abschrauben und abnehmen. Beim Einbau Schrauben mit 8 Nm anziehen. Stets eine neue Flanschdichtung verwenden!

4. Vergaser zerlegen, reinigen und zusammenbauen
Startautomatik
Vakuumschlauch abziehen (Pfeil). Schrauben am Haltering abschrauben und Haltering, Starterdeckel und Unterdruckdose abnehmen.

Selbstsichernde Schraube herausdrehen und Beschleunigerpumpenhebel abnehmen.

Halteclip entfernen und Gestänge aushängen.

Vergaserdeckelschrauben herausdrehen und Deckel abnehmen Falls erforderlich, Deckel mit Schraubenzieher abhebeln.

Pumpensieb aus dem Vergaserdeckel mit spitzem Dorn heraushebeln.

Beschleunigerpumpenkolben und Feder herausnehmen.

Vergaserdeckeldichtung abnehmen.

Kolben mit Teillastnadel, wie im Bild gezeigt, vorsichtig heraushebeln.

Kolben mit Kolbenfeder und Teillastnadel herausnehmen.

Füllscheibe, Schwimmer mit Schwimmerachse und Schwimmernadel entnehmen.

Hauptdüse herausdrehen.

Schwimmernadelventilsitz herausschrauben und mit Dichtung herausnehmen.

Plastik-Verschlußstopfen für Pumpenüberdruckventil mit Feder und Kugel ausbauen (heraushebeln).

Mutter Kraftstoff-Einlaßstutzen herausdrehen und Filter entnehmen.

Drosselklappenteil von Schwimmergehäuse abschrauben.

Vergaser reinigen. Hierfür alle Teile sorgfältig mit Reinigungsbenzin oder Spezialreiniger säubern und mit Preßluft entgegen der Kraftstoffdurchflußrichtung durchblasen. Besondere Sorgfalt sollte dem Beschleunigersystem, vor allem dem Einspritzröhrchen - siehe Bild - gewidmet werden.

Zusammenbau
Beim Zusammenbau stets neue Dichtungen, Kunststoffsieb und Halteclip für Starterverbindungsstange verwenden. Manschette des Pumpenkolbens prüfen und, soweit erforderlich, neuen Pumpenkolben verwenden.
Drosselklappenteil mit neuer Dichtung an Schwimmergehäuse schrauben. Neuen Filter in Kraftstoff-Einlaß einsetzen und verschrauben. Hauptdüse einschrauben. Kolben mit Feder und Teillastnadel einsetzen.

Achtung!
Plastikhaltering muß bündig mit der Flanschfläche des Schwimmergehäuses abschließen.
Schwimmernadelventilsitz mit Dichtring einschrauben. Plastik-Verschlußstopfen mit Kugel und Feder einpressen. Schwimmernadel, Klip innen, an Schwimmerarm anhängen. Klipsspiel darf 0,1 bis max. 0,3 mm betragen. Zur Korrektur ggf. nachbiegen. Schwimmer mit Achse und angehängter Ventilnadel in das Schwimmergehäuse einsetzen.

Schwimmerstellung prüfen. Dazu auf Schwimmerachse und gleichzeitig, wie im Bild gezeigt, auf hinteren Teil des Schwimmerarms drücken. Der Abstand von Oberkante Vergasergehäuse zum Schwimmer muß an der gezeigten Position (35 mm von der Schwimmerachse entfernt) betragen. Zur Korrektur Schwimmerarm an der Sollbiegestelle biegen. Füllstück einlegen.

Neue Dichtung auf Schwimmergehäuse aufsetzen. Pumpenkolben mit Feder in Pumpenzylinder stecken. Pumpensieb in Vergaserdeckel bündig eindrücken. Vergaserdeckel aufsetzen und verschrauben. Dabei sicherstellen, daß die Dichtung nicht verrutscht. Freigängigkeit der Beschleunigerpumpe prüfen. Beschleunigerpumpenhebel anbauen. Verbindungsgestänge einhängen und mit neuem Halteclip sichern.
Startautomatik - Halter mit Unterdruckdose aufsetzen und Haltering mit Starterdeckel anschrauben. Darauf achten, daß die B-Haltefeder im Choke-Hebel eingesetzt ist. Starterdeckel entsprechend der Spezifikation auf Markierung einstellen. Verbindungsschlauch zwischen Drosselklappenteil und Unterdruckdose aufstecken.
Beschleunigerpumpe prüfen und einstellen
Pumpenhebelstellung prüfen. In Leerlaufstellung, bei betriebswarmem Motor, darf kein Spiel zwischen Pumpenhebel und Kolbenstange vorhanden sein.

Drosselklappe voll öffnen.

Mit Schraubenzieher Kolbenstange bis zum Druckpunkt voll niederdrücken. Der Druckpunkt muß unterhalb des Vollastpunktes - siehe Bild - liegen.

Zur Korrektur Pumpenhebel an der entsprechenden Stelle verbiegen.

Einspritzstrahl kontrollieren. Beim Öffnen der Drosselklappe muß von Beginn an ein gebündelter, satter Strahl gegen den Vorzerstäuber (inneres Venturi) vorhanden sein. Bei Abweichungen Beschleunigersystem nochmals reinigen.

Datenblatt Varajet-II-Vergaser
Versionen des Varajet-II-Vergasers:
| Kenn-Nummer | Fahrzeugtyp | Motor/Getriebe |
| 96 002 017 | Kadett D / Ascona C | 13S / MT ab 08/81 |
| 96 002 018 | Kadett D / Ascona C | 13S / AT ab 08/81 |
| 96 002 101 | Kadett D / Ascona C | 16S / MT ab 08/81 |
| 96 002 102 | Kadett D / Ascona C | 16S / AT ab 08/81 |
| 96 002 109 | Manta B / Rekord E | 18S / MT ab 04/82 |
| 96 002 110 | Manta B / Rekord E | 18S / AT ab 09/82 |
| 96 002 117 | Kadett D / Ascona C / Manta B | 13S / MT ab 09/82 |
| 96 002 118 | Kadett D / Ascona C / Manta B | 13S / AT ab 09/82 |
| 96 003 105 | Kadett D / Ascona C | S16S / MT von 10/81 bis 02/83 |
| 96 003 106 | Kadett D / Ascona C | S16S / AT von 10/81 bis 02/83 |
| 96 003 111 | Kadett D / Ascona C | S16S / MT ab 02/83 |
| 96 003 112 | Kadett D / Ascona C | S16S / AT ab 02/83 |
| 96 007 001 | Ascona B / Manta B / Rekord E | 20S / MT / ohne Klimaanlage |
| 96 007 002 | Ascona B / Manta B / Rekord E | 20S / AT / ohne Klimaanlage |
| 96 007 007 | Ascona B / Manta B / Rekord E | 20S / MT / mit Klimaanlage |
| 96 007 008 | Ascona B / Manta B / Rekord E | 20S / AT / mit Klimaanlage |
| 96 008 005 | Ascona B / Manta B / Rekord E | 20N / MT / ohne Klimaanlage |
| 96 008 006 | Ascona B / Manta B / Rekord E | 20N / AT / ohne Klimaanlage |
| 96 008 015 | Ascona B / Manta B / Rekord E | 20N / MT / mit Klimaanlage |
| 96 008 016 | Ascona B / Manta B / Rekord E | 20N / AT / mit Klimaanlage |
| 96 010 017 | Kadett D | 13S / MT von 04/81 bis 08/81 |
| 96 010 018 | Kadett D | 13S / AT von 08/79 bis 08/81 |
| 96 010 023 | Ascona B / Manta B | 13S / MT ab 01/80 |
| Vergaser-Kenndaten Rekord E1 | ||||
| Motor | 20 | 20 | 20 | 20 |
| Leistung in kW / PS | 66 / 90 | 66 / 90 | 66 / 90 | 66 / 90 |
| Getriebe | 4-Gang | AT | 4-Gang mit Klima | AT mit Klima |
| Vergaser-Typ | Varajet II | Varajet II | Varajet II | Varajet II |
| Kenn-Nummer | 96 008 005 | 96 008 006 | 96 008 015 | 96 008 016 |
| Produktionseinsatz | 08/77 - 13.09.1979 | 08/77 - 13.09.1979 | 08/77 - 13.09.1979 | 08/77 - 13.09.1979 |
| Vergaser-Kalibrierung | ||||
| Drosselklappen-Durchmesser in mm I. Stufe | 35 | 35 | 35 | 35 |
| Drosselklappen-Durchmesser in mm II. Stufe | 46 | 46 | 46 | 46 |
| Lufttrichter I. Stufe | 28 | 28 | 28 | 28 |
| Lufttrichter II. Stufe | - | - | - | - |
| Hauptdüse I. Stufe | 177 | 177 | 177 | 177 |
| Hauptdüse II. Stufe | eingepreßt | eingepreßt | eingepreßt | eingepreßt |
| Teillastnadel I. Stufe | 124 | 124 | 124 | 124 |
| Teillastnadel II. Stufe | nicht austauschbar | nicht austauschbar | nicht austauschbar | nicht austauschbar |
| Leerlaufdüse | eingepreßt | eingepreßt | eingepreßt | eingepreßt |
| Schwimmergewicht | 8,2 g | 8,2 g | 8,2 g | 8,2 g |
| Leerlaufabschaltventil | vorhanden | vorhanden | vorhanden | vorhanden |
| Vergaser-Einstellung | ||||
| Leerlaufdrehzahl U/min | 800 bis 850 | 800 bis 850 | 800 bis 850 | 800 bis 850 |
| CO-Anteil in Vol.% | 1,0 bis 2,0 | 1,0 bis 2,0 | 1,0 bis 2,0 | 1,0 bis 2,0 |
| Zündunterdruck kPa | >0 bis 2,0 | > 0 bis 2,0 | > 0 bis 2,0 | > 0 bis 2,0 |
| Schnelleerlauf U/min | 2000 bis 2100 | 2000 bis 2100 | 2000 bis 2100 | 2000 bis 2100 |
| Starterklappenspalt in mm | 3,5 | 3,5 | 3,5 | 3,5 |
| Pumpenkolbeneinstellung an Zugstange in mm | 11,3 | 11,3 | 11,3 | 9,8 |
| Spiel Stauklappenhebel an Zugstange in mm | 0,2 bis 0,4 | 0,2 bis 0,4 | 0,2 bis 0,4 | 0,2 bis 0,4 |
| Deckel - Startautomatik Einstellung | 1 Teilstrich nach L | 1 Teilstrich nach L | 1 Teilstrich nach L | 1 Teilstrich nach L |
| Vergaser-Kenndaten Rekord E | ||||
| Motor | 20 S | 20 S | 20 S | 20 S |
| Leistung in kW / PS | 74 / 100 | 74 / 100 | 74 / 100 | 74 / 100 |
| Getriebe | 4-Gang | AT | 4-Gang mit Klima | AT mit Klima |
| Vergaser-Typ | Varajet II | Varajet II | Varajet II | Varajet II |
| Kenn-Nummer | 96 007 001 | 96 007 002 | 96 007 007 | 96 007 008 |
| Produktionseinsatz | 02/78 | 02/78 | 02/78 | 02/78 |
| Vergaser-Kalibrierung | ||||
| Drosselklappen-Durchmesser in mm I. Stufe | 35 | 35 | 35 | 35 |
| Drosselklappen-Durchmesser in mm II. Stufe | 46 | 46 | 46 | 46 |
| Lufttrichter I. Stufe | 28 | 28 | 28 | 28 |
| Lufttrichter II. Stufe | - | - | - | - |
| Hauptdüse I. Stufe | 177 | 177 | 92 | 92 |
| Hauptdüse II. Stufe | eingepreßt | eingepreßt | eingepreßt | eingepreßt |
| Teillastnadel I. Stufe | 12 | 12 | 12 | 12 |
| Teillastnadel II. Stufe | nicht austauschbar | nicht austauschbar | nicht austauschbar | nicht austauschbar |
| Leerlaufdüse | eingepreßt | eingepreßt | eingepreßt | eingepreßt |
| Schwimmergewicht | 8,2 g | 8,2 g | 8,2 g | 8,2 g |
| Leerlaufabschaltventil | nicht vorhanden | nicht vorhanden | nicht vorhanden | nicht vorhanden |
| Vergaser-Einstellung | ||||
| Leerlaufdrehzahl U/min | 800 bis 850 | 800 bis 850 (P) | 800 bis 850 | 800 bis 850 |
| CO-Anteil in Vol.% | 1,0 bis 2,0 | 1,0 bis 2,0 | 1,0 bis 2,0 | 1,0 bis 2,0 |
| Zündunterdruck kPa | >0 bis 2,0 | > 0 bis 2,0 | > 0 bis 2,0 | > 0 bis 2,0 |
| Schnelleerlauf U/min | 2000 bis 2100 | 2000 bis 2100 | 2000 bis 2100 | 2000 bis 2100 |
| Starterklappenspalt in mm | 4,0 | 4,0 | 4,0 | 4,0 |
| Pumpenkolbeneinstellung an Zugstange in mm | 10,8 | 12,8 | 12,8 | 9,8 |
| Spiel Stauklappenhebel an Zugstange in mm | 0,2 bis 0,4 | 0,2 bis 0,4 | 0,1 bis 0,5 | 0,1 bis 0,5 |
| Deckel - Startautomatik Einstellung | Markierung Mitte | Markierung Mitte | Markierung Mitte | Markierung Mitte |
| Vergaser-Kenndaten Rekord E | ||
| Motor | 18 S | 18 S |
| Leistung in kW / PS | 66 / 90 | 66 / 90 |
| Getriebe | 4-Gang / 5-Gang | AT |
| Vergaser-Typ | Varajet II | Varajet II |
| Kenn-Nummer | 96 002 009 | 96 002 010 |
| Produktionseinsatz | 04/82 | 09/82 |
| Vergaser-Kalibrierung | ||
| Drosselklappen-Durchmesser in mm I. Stufe | 35 | 35 |
| Drosselklappen-Durchmesser in mm II. Stufe | 46 | 46 |
| Lufttrichter I. Stufe | 28 | 28 |
| Lufttrichter II. Stufe | - | - |
| Hauptdüse I. Stufe | 195 | 195 |
| Hauptdüse II. Stufe | eingepreßt | eingepreßt |
| Teillastnadel I. Stufe | 130 | 220 G |
| Teillastnadel II. Stufe | nicht austauschbar | nicht austauschbar |
| Leerlaufdüse | eingepreßt | eingepreßt |
| Schwimmergewicht | 8,2 g | 8,2 g |
| Leerlaufabschaltventil | nicht vorhanden | nicht vorhanden |
| Vergaser-Einstellung | ||
| Leerlaufdrehzahl U/min | 800 bis 850 | 800 bis 850 (P) |
| CO-Anteil in Vol.% | 0,5 bis 1,5 | 0,5 bis 1,5 |
| Zündunterdruck kPa | >0 bis 2,0 | > 0 bis 2,0 |
| Schnelleerlauf U/min | 1950 - 2050 | 1950 - 2050 |
| Starterklappenspaltmaß A in mm | 3,7 - 4,3 | 3,7 - 4,3 |
| Starterklappenspaltmaß B in mm | 2,7 - 3,3 | 2,7 - 3,3 |
| Starterdeckeleinstellung | Mittenmarkierung | Mittenmarkierung |
| Starterklappenspaltmaß C in mm | 9,5 - 10,5 | 9,5 - 10,5 |
| Schwimmereinstellung in mm | 4,5 - 6,5 | 4,5 - 6,5 |
| Pumpenkolbeneinstellung an Zugstange in mm | 10,8 | 12,8 |
| Spiel Stauklappenhebel an Zugstange in mm | 0,1 bis 0,3 | 0,1 bis 0,3 |
Störungsabhilfe
| Störung | Abhilfe |
| Schlechter Kaltstart - Motor läuft nach Kaltstart nicht durch (geht wieder aus) - schlechter Übergang in der Warmlaufphase |
- Leichtgängigkeit der Starterklappe bei aufgebautem Luftfilter prüfen (an Starterverbindungsstange). - Schnell-Leerlaufdrehzahl auf 2.000 bis 2.100 U/min einstellen. - Starterklappenspalt auf das vorgeschriebene Spaltmaß einstellen. - Starterdeckel auf 1 Teilstrich nach "R" hin einstellen - CO-Gehalt im Abgas auf den oberen Wert hin einstellen - Vor dem Kaltstart das Gaspedal evtl. 2 - 3 mal langsam durchtreten |
Schlechter Leerlauf - Drosselklappenwelle der II. Stufe klemmt - Drosselklappenteil verzogen - Drosselklappenwelle der I. Stufe hat zu viel Spiel
|
- Drosselklappenteil ggf. planen oder ersetzen - ggf. planen oder ersetzen - Drosselklappenteil ersetzen |
Drosselklappenteil ersetzen:
Bei einem Teil der älteren Vergaser ist das Anschlußrohr für die
unterdruckgesteuerte Zwangsöffnung der Starterklappe am Schwimmergehäuse
angeordnet.
Bei neueren Vergasern ist das Anschlußrohr am Drosselklappenteil angeordnet.
Beim Ersetzen des Drosselklappenteils Anschlußrohr für unterdruckgesteuerte
Zwangsöffnung der Starterklappe am Schwimmergehäuse entfernen.
Immer neue Dichtung Schwimmergehäuse-Drosselklappenteil verwenden.
Wichtig:
Der Vergaserdeckel mit NIC-Leerlaufsystem paßt nicht auf die früheren Vergaser dieses Typs. Wenn Vergaser mit altem Leerlaufsystem mit einem Deckel des neuen Leerlaufsystems ausgestattet werden, besteht keine Lauffähigkeit des Motors im Leerlauf!

